Product Summary
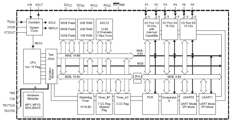
The MSP430F149IPRG4 is a mixed signal microcontroller. The architecture, combined with five low power modes is optimized to achieve extended battery life in portable measurement applications. The MSP430F149IPRG4 features a powerful 16-bit RISC CPU, 16-bit registers, and constant generators that attribute to maximum code efficiency. The digitally controlled oscillator (DCO) allows wake-up from low-power modes to active mode in less than 6μs.
Parametrics
MSP430F149IPRG4 absolute maximum ratings : (1)Voltage applied at VCC to VSS : 0.3 V to + 4.1 V; (2)Voltage applied to any pin : 0.3 V to VCC+0.3 V; (3)Diode current at any device terminal : ±2 mA; (4)Storage temperature (unprogrammed device) : -55℃ to 150℃; (5)Storage temperature (programmed device) : 40℃ to 85℃.
Features
MSP430F149IPRG4 features: (1)Five Power-Saving Modes; (2)Wake-Up From Standby Mode in less than 6 μs; (3)16-Bit RISC Architecture,125-ns Instruction Cycle Time; (4)12-Bit A/D Converter With Internal Reference, Sample-and-Hold and Autoscan Feature; (5)16-Bit Timer_B With Seven,Capture/Compare-With-Shadow Registers; (6)16-Bit Timer_A With Three Capture/Compare Registers; (7)On-Chip Comparator; (8)Serial Onboard Programming,No External Programming Voltage Needed Programmable Code Protection by Security Fuse.
Diagrams

(Hong Kong)






