Product Summary
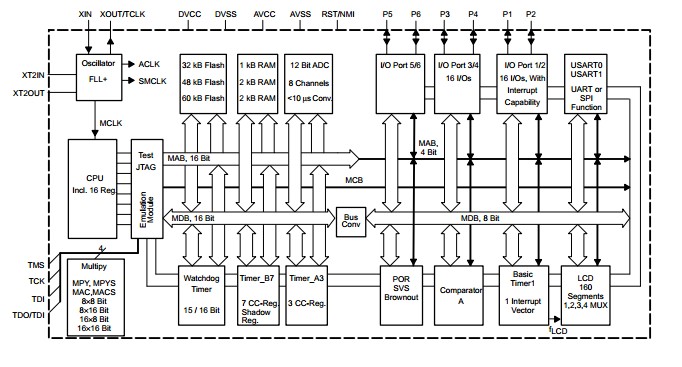
The MSP430F449IPZ is an ultralow-power microcontroller consisting of several devices featuring different sets of modules targeted to various applications. The microcontroller is designed to be battery operated for use in extended-time applications. The MSP430 achieves maximum code efficiency with its 16-bit RISC architecture, 16-bit CPU-integrated registers, and a constant generator. The digitally-controlled oscillator provides wake-up from low-power mode to active mode in less than 6 us. The MSP430F449IPZ is a microcontroller configurations with two built-in 16-bit timers, a fast 12-bit A/D converter, one or two universal serial synchronous/asynchronous communication interfaces (USART), 48 I/O pins, and a liquid crystal driver (LCD) with up to 160 segments. Typical applications of the MSP430F449IPZ include sensor systems that capture analog signals, convert them to digital values, and process and transmit the data to a host system, or process this data and displays it on a LCD pane.
Parametrics
MSP430F449IPZ absolute maximum ratings: (1)Voltage applied at VCC to VSS: –0.3 V to 4.1 V; (2)Voltage applied to any pin (referenced to VSS): –0.3 V to VCC + 0.3 V; (3)Diode current at any device terminal: ±2 mA; (4)Storage temperature, Tstg: (unprogrammed device): –55 to 150℃; (5)(programmed device): –40 to 85℃.
Features
MSP430F449IPZ features: (1)Low Supply-Voltage Range, 1.8 V to 3.6 V; (2)Ultralow-Power Consumption: Active Mode: 280uA at 1 MHz, 2.2 V, Standby Mode: 1.1 μA, Off Mode (RAM Retention): 0.1uA; (3)Five Power Saving Modes; (4)Wake-Up From Standby Mode in 6 μs; (5)16-Bit RISC Architecture, 125-ns Instruction Cycle Time; (6)12-Bit A/D Converter With Internal Reference, Sample-and-Hold and Autoscan Feature; (7)16-Bit Timer With Three or Seven; (8)Capture/Compare-With-Shadow Registers, Timer_B; (9)16-Bit Timer With Three Capture/Compare Registers, Timer_A; (10)On-Chip Comparator; (11)Serial Communication Interface (USART), Select Asynchronous UART or Synchronous SPI by Software; Two USARTs (USART0, USART1) In MSP430x44x Devices One USART (USART0) In MSP430x43x Devices; (12)Brownout Detector; (13)Supply Voltage Supervisor/Monitor With Programmable Level Detection.
Diagrams

| Image | Part No | Mfg | Description | ![]() |
Pricing (USD) |
Quantity | ||||||||||||
|---|---|---|---|---|---|---|---|---|---|---|---|---|---|---|---|---|---|---|
![]() |
![]() MSP430F449IPZ |
![]() Texas Instruments |
![]() 16-bit Microcontrollers (MCU) 60kB Flash 2048B RAM 12ADC/2USART 160sLCD |
![]() Data Sheet |
![]()
|
|
||||||||||||
![]() |
![]() MSP430F449IPZR |
![]() Texas Instruments |
![]() 16-bit Microcontrollers (MCU) 60kB Flash 2048B RAM 12ADC/2USART 160sLCD |
![]() Data Sheet |
![]()
|
|
||||||||||||
(Hong Kong)









