Product Summary
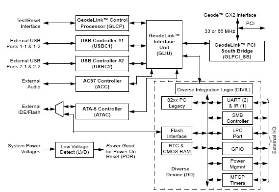
The CS5535-UDC is a Multi-Function South Bridge. The CS5535-UDC is a complete I/O companion for an integrated processor North Bridge component such as the Geode GX2 processor series. Together, the GX2 and CS5535 provide a system level solution well suited for the high-performance and low power needs of a host of information appliances that include digital set-top boxes, personal access devices, and thin client applications.
Parametrics
CS5535-UDC absolute maximum ratings: (1)Operating Case Temperature : -65 to 110 ℃; (2)Storage Temperature : -65 to 150 ℃ ; (3)Core Supply : 1.6 V; (4)I/O Supply : 3.6 V; (5)Voltage on Non-5V Tolerant Balls : -0.5 to 3.6 V; (6)Voltage on 5V Tolerant Balls : -0.5 to 5.5 V.
Features
CS5535-UDC features: (1)Designed for use with National’s Geode GX2 processor series; (2)208-Terminal PBGA (plastic ball grid array) package; (3)3.3V I/O and 1.5V (nominal) Core operation; (4)Low power operation: less than 1.0W in Working state; (5)Working and Standby power domains; (6)IEEE 1149.1 compliant TAP and boundary scan.
Diagrams

(Hong Kong)






