Product Summary
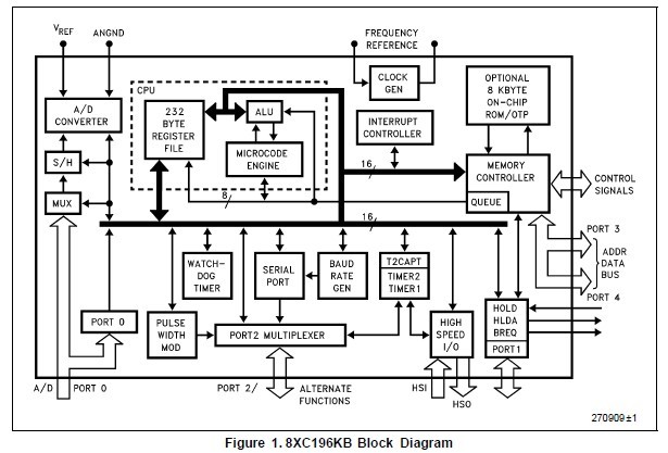
The EN80C196KB16 is a 16-bit microcontroller available in three different memory varieties: ROMless (80C196KB), 8K ROM (83C196KB) and 8K OTP (One Time Programmable-87C196KB). The EN80C196KB16 is a high performance member of the MCSe 96 microcontroller family. The EN80C196KB16 has the same peripheral set as the 8096BH and has a true superset of the 8096BH instructions. Intel CHMOS process provides a high performance processor along with low power consumption. To further reduce power requirements, the processor can be placed into Idle or Powerdown Mode. The EN80C196KB16 has a maximum guaranteed frequency of 12 MHz. The EN80C196KB1616 has a maximum guaranteed frequency of 16 MHz. All references to the 80C196KB also refer to the 80C196KB16; 83C196KB, Rxxx; 87C196KB and 87C196KB16 unless otherwise noted. The ROM device does not have a speed indicator at the end of the device name. Instead it has a ROM code number.
Parametrics
EN80C196KB16 absolute maximum ratings: (1)Ambient Temperature, Under Bias: -55℃ to +125℃; (2)Storage Temperature: -65℃ to +150℃; (3)Voltage On Any Pin to VSS: -0.5V to +7.0V; (4)Power Dissipation: 1.5W.
Features
EN80C196KB16 features: (1)8 Kbytes of On-Chip ROM/OTP Available; (2)232 Byte Register File; (3)Register-to-Register Architecture; (4)28 Interrupt Sources/16 Vectors; (5)1.75 ms 16 x 16 Multiply (16 MHz); (6)3.0 ms 32/16 Divide (16 MHz); (7)Powerdown and Idle Modes; (8)Five 8-Bit I/O Ports; (9)16-Bit Watchdog Timer; (10)12 MHz and 16 MHz Available; (11)Dedicated 15-Bit Baud Rate Generator; (12)Dynamically Configurable 8-Bit or 16-Bit Buswidth; (13)Full Duplex Serial Port; (14)High Speed I/O Subsystem; (15)16-Bit Timer; (16)16-Bit Up/Down Counter with Capture; (17)Pulse-Width-Modulated Output; (18)Four 16-Bit Software Timers; (19)10-Bit A/D Converter with Sample/Hold; (20)HOLD/HLDA Bus Protocol; (21)Extended Temperature Available.
Diagrams

| Image | Part No | Mfg | Description | ![]() |
Pricing (USD) |
Quantity | ||||
|---|---|---|---|---|---|---|---|---|---|---|
![]() |
![]() EN80C196KB16 |
![]() |
![]() IC MPU 16BIT 5V 16MHZ 68PLCC |
![]() Data Sheet |
![]() Negotiable |
|
||||
| Image | Part No | Mfg | Description | ![]() |
Pricing (USD) |
Quantity | ||||
![]() |
![]() EN80960SA16512 |
![]() |
![]() IC MPU I960SA 16MHZ 84-PLCC |
![]() Data Sheet |
![]() Negotiable |
|
||||
![]() |
![]() EN80960SB16512 |
![]() |
![]() IC MPU I960SB 16MHZ 84-PLCC |
![]() Data Sheet |
![]() Negotiable |
|
||||
![]() |
![]() EN80C186EA13 |
![]() |
![]() IC MPU 16-BIT 5V 13MHZ 68-PLCC |
![]() Data Sheet |
![]() Negotiable |
|
||||
![]() |
![]() EN80C186EA20 |
![]() |
![]() IC MPU 16-BIT 5V 20MHZ 68-PLCC |
![]() Data Sheet |
![]() Negotiable |
|
||||
![]() |
![]() EN80C186EB13 |
![]() |
![]() IC MPU 16-BIT 5V 13MHZ 84-PLCC |
![]() Data Sheet |
![]() Negotiable |
|
||||
![]() |
![]() EN80C186EB20 |
![]() |
![]() IC MPU 16BIT 5V 20MHZ 84PLCC |
![]() Data Sheet |
![]() Negotiable |
|
||||
(Hong Kong)









